
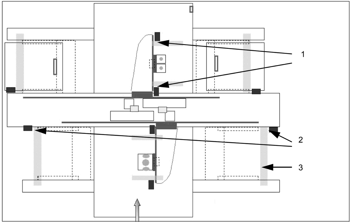
The travel range of the X- and Y-axes will be determined automatically with Sitest program.
That means, during calibration of travel range the axis run as far as possible into its minimum and/or maximum position.
The axis position is taken when the limit-BERO’s switch.
Corresponding the description (see below) a safety space infront of the hardware limit switch is calculated for SW-travel limit.